Jaguar E Type FHC 4.2 S2 Boot

Search for your interior trim using our filters below

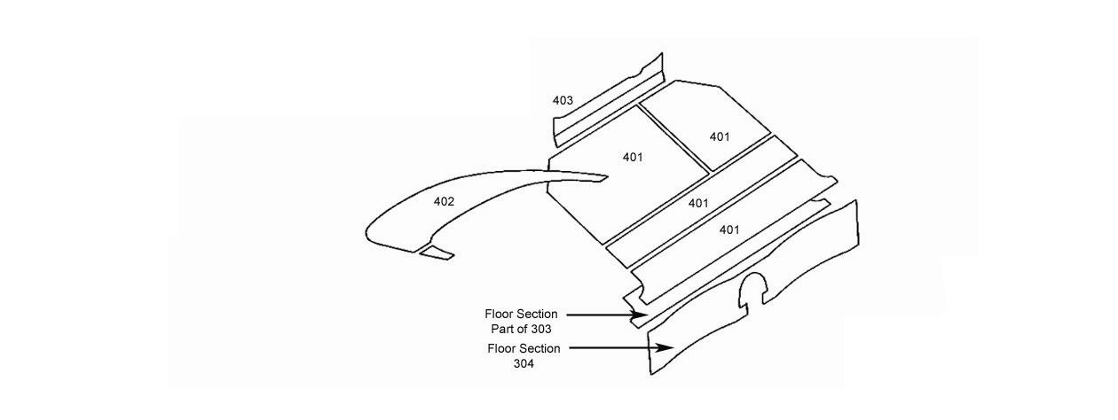
E Type FHC 4.2 S2 Boot Schematic
  • View

  • Sort By

  • Show Schematic

Jaguar

E Type FHC 4.2 S2

Rear Floor Vinyl (2.5 Metres)

Schematic: 401

£79.79

Jaguar

E Type FHC 4.2 S2

Lower Rear Door Panel

Schematic: 402

£102.61

Jaguar

E Type FHC 4.2 S2

Trim Panel Below Rear Door

Schematic: 403

£64.69

Jaguar

E Type FHC 4.2 S2

Rear Door Panel - Upper

£107.10

  • Ivory
  • Cream
  • Magnolia
  • Old Beige
  • Biscuit
  • Doeskin
  • Light Beige
  • Barley
  • Cinnamon
  • Tan
  • Bright Red
  • Old Red
  • Mulberry
  • Suede Green
  • Pale Blue
  • Navy Blue
  • Dove Grey
  • Old Grey
  • Saville Grey
  • French Blue
  • Black

Jaguar

E Type FHC 4.2 S2

Vinyl For Rear Box (1.0 Metre)

£31.92